NMPA注销289个批准文号
来源:蒲公英 作者: 时间:2020-3-18 阅读:
2020年03月17日国家药品监督管理局(NMPA)连续发布了6个关于安乃近注射液、含磺胺二甲嘧啶制剂、羟布宗片等品种注销公告。
本次公告品种涉及11个品种289个批准文号,属于经国家药品监督管理局组织进行了上市后评价,认为风险大于获益,要求自即日起停止生产销售使用,已上市销售的应召回。
涉及的主要品种:
安乃近注射液、安乃近氯丙嗪注射液、小儿安乃近灌肠液、安乃近滴剂、安乃近滴鼻液、滴鼻用安乃近溶液片、小儿解热栓、磺胺二甲嘧啶片、磺胺二甲嘧啶混悬液、小儿复方磺胺二甲嘧啶散、羟布宗片。
安乃近相关的制剂
安乃近是吡唑酮类解热镇痛药,在我国上市时间较早,制剂种类包括口服制剂、注射剂、滴鼻液等。随着医药技术发展以及不良反应监测工作的深入,药品安全风险认知将更加全面,风险获益比可能发生变化。国家药品监督管理部门高度关注该类品种安全性问题,开展了相关评估和风险警示工作。
经国家药品监督管理部门组织评价,认为安乃近注射液、安乃近氯丙嗪注射液、小儿安乃近灌肠液、安乃近滴剂、安乃近滴鼻液、滴鼻用安乃近溶液片、小儿解热栓存在严重过敏反应、粒细胞缺乏症等严重不良反应,风险大于获益,且临床均有替代药品,根据《中华人民共和国药品管理法》第八十三条,予以注销药品注册证书。
安乃近片等口服制剂保留
安乃近片等口服制剂尚有一定临床价值,对安乃近片、重感灵片、重感灵胶囊、复方青蒿安乃近片采取修订说明书的风险控制措施,增加安全警示信息,限制适用人群和适应症范围。
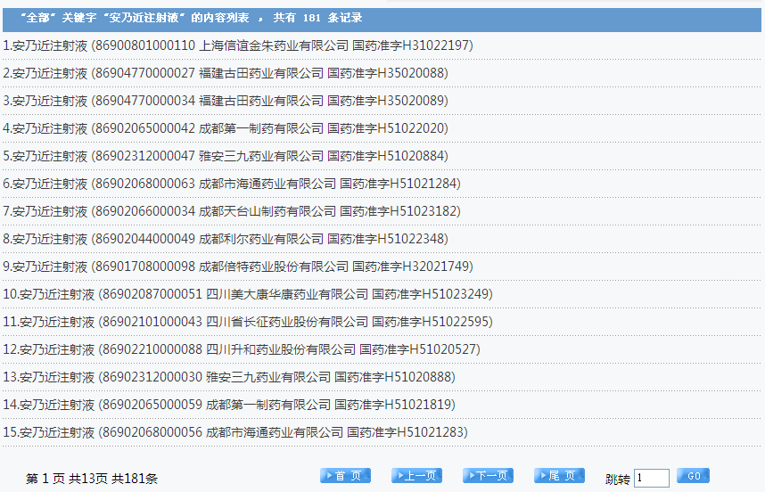
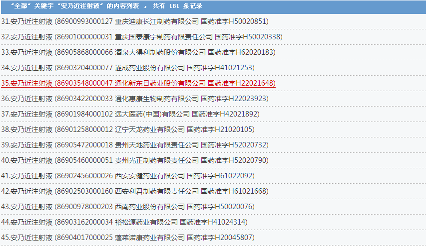
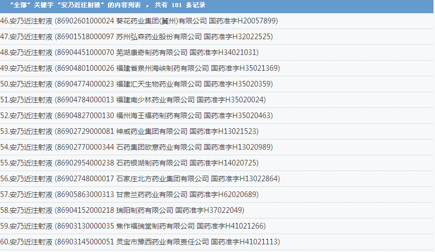
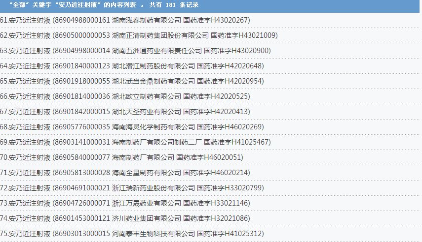
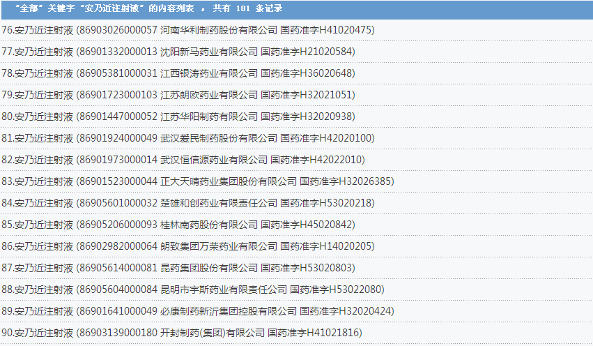
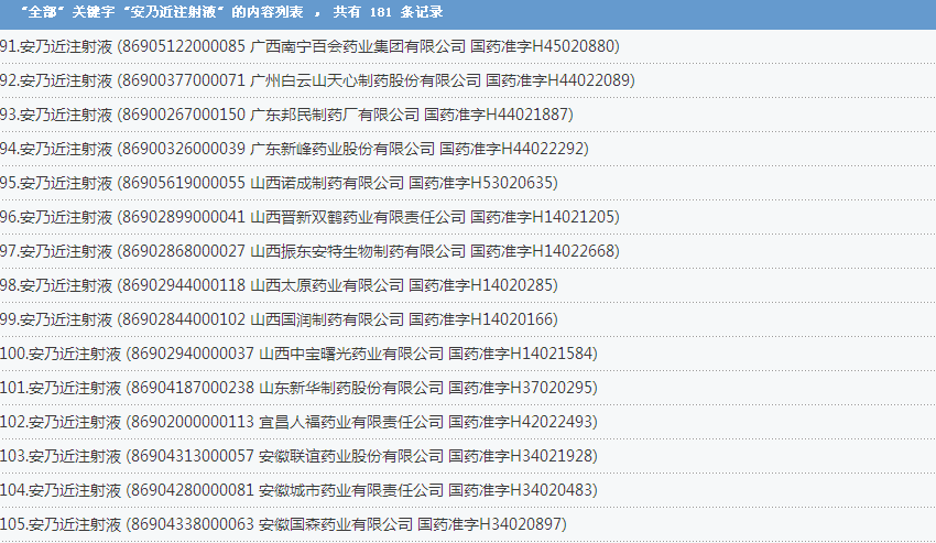
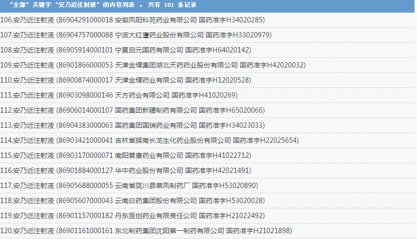
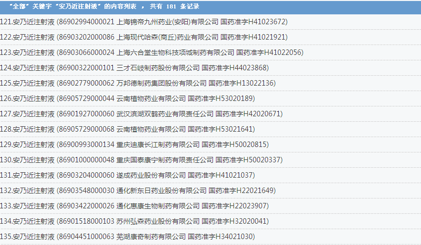
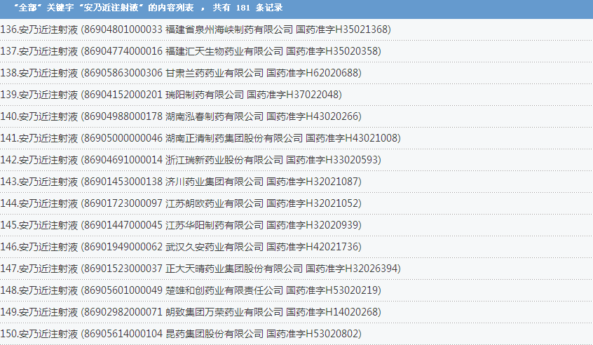
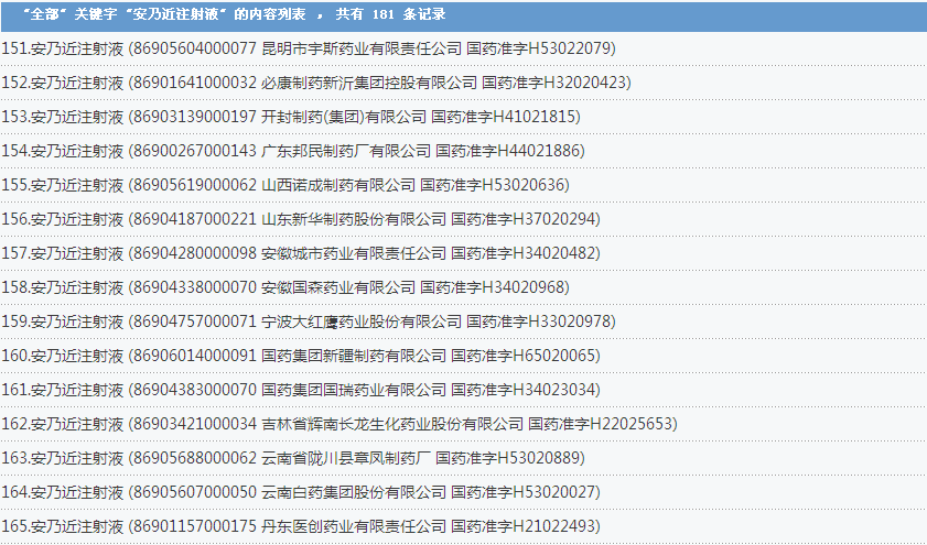
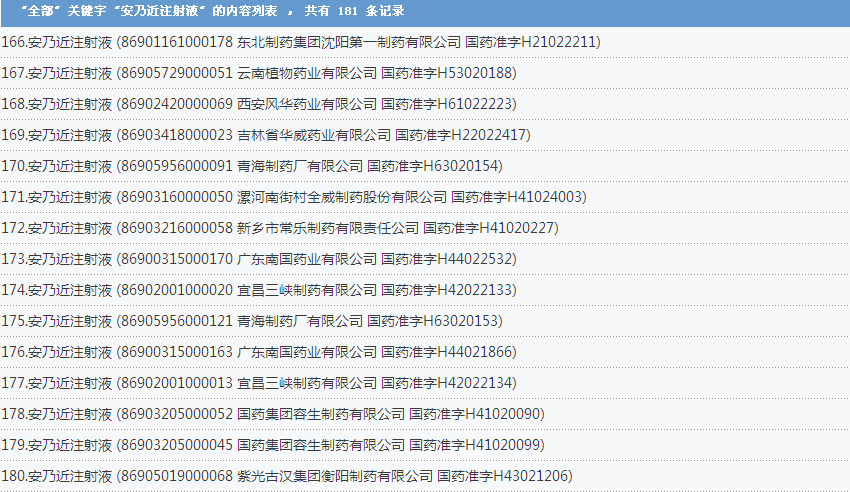
安乃近注射液:国内共有181个批准文号,涉及了上海信谊金朱药业有限公司、福建古田药业有限公司、成都第一制药有限公司等企业:













安乃近氯丙嗪注射液:6个批准文号

小儿安乃近灌肠液:2个批准文号

安乃近滴剂:1个批准文号

安乃近滴鼻液:1个批准文号

滴鼻用安乃近溶液片:1个批准文号

小儿解热栓:3个批准文号

含磺胺二甲嘧啶等制剂
国家药品监督管理局组织对含磺胺二甲嘧啶制剂进行了上市后评价,评价认为含磺胺二甲嘧啶制剂存在严重不良反应,在我国使用风险大于获益,决定自即日起停止含磺胺二甲嘧啶制剂在我国的生产、销售和使用,注销药品注册证书(药品批准文号)。已上市销售的含磺胺二甲嘧啶制剂由生产企业负责召回,召回产品由企业所在地药品监督管理部门监督销毁。
含磺胺二甲嘧啶制剂是磺胺类抗感染药,在我国上市的品种有磺胺二甲嘧啶片、磺胺二甲嘧啶混悬液、小儿复方磺胺二甲嘧啶散,适应症为脑膜炎球菌、肺炎球菌以及某些革兰氏阴性杆菌引起的感染,严重不良反应主要涉及皮肤及血液系统。
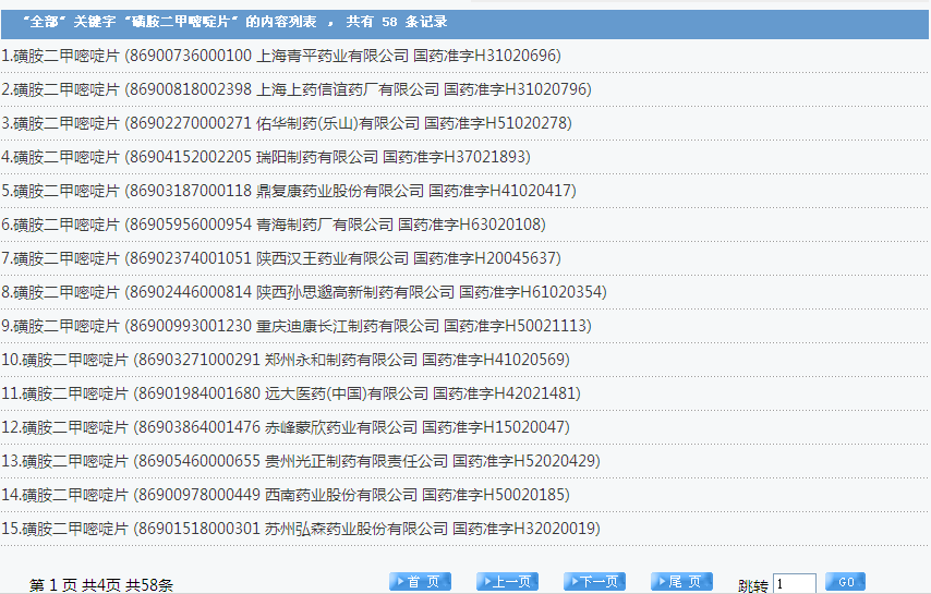
磺胺二甲嘧啶片:58个批准文号




磺胺二甲嘧啶混悬液:4个批准文号

小儿复方磺胺二甲嘧啶散:30个批准文号:


羟布宗片
国家药品监督管理局组织对羟布宗片进行了上市后评价,评价认为羟布宗片存在严重不良反应,在我国使用风险大于获益,决定自即日起停止羟布宗片在我国的生产、销售和使用,注销药品注册证书(药品批准文号)。已上市销售的羟布宗片由生产企业负责召回,召回产品由企业所在地药品监督管理部门监督销毁。
羟布宗片为解热镇痛抗炎药,适应症为风湿性、类风湿性关节炎及痛风,严重不良反应主要涉及血液系统。
羟布宗片:

上篇:
下篇:





